航空工业随着液压技术的迅速发展得到了广泛的应用,在现代飞机的操作系统及发动机的供油量控制中普遍采用了液压系统。
飞机的操作系统主要有如下液压系统:
油箱空气增压系统、主供压系统、应急供压系统、起落架收放系统、襟翼收放系统、前轮转弯系统、主轮刹车系统、风档雨刷刮水系统、电源恒速装置液压系统、进气整流锥和可调斜板液压系统以及发动机供燃油系统,发动机滑油液压系统、尾喷口控制液压系统。另外,供油量控制采用机械与液压系统进行控制是成熟可靠的。
当电机处于滑跑、起飞、加速、升降等各种工况时,需采用机械液压控制系统来改变动力装置的推力以满足飞行中的不同需要。如飞机发动机输出功率大幅度变化时,供油量将成倍变化在这种供油量的变化的情况下,液压系统需满足起动、加速、加力、减速等过渡过程的控制要求,以保证动力装置不出现超转、超载、过热、喘振和熄火等,既能稳定、又能可靠地工作。
现代航空中所用的液压系统的特点是高温、高压、高精度、振动大、大流量及多裕度、集成化和小型化等,这些必将增大管路元件的载荷,增加系统油液渗漏的可能性。飞机液压系统的工作液,普遍应用润滑性良好的矿物油与合成油。
飞机液压系统的发展,不仅要求组成系统的各元件满足静态特性的指标,也要满足动态特性的指标。其目的是保证飞机飞行的安全性及可靠性。
4.20.1飞机液压操作系统
在大型客机上单靠入力是不町能直接操作动翼的,在操纵系统和起落架装置中都使用了液压装置。动翼的操纵要求能正确而迅速地响应,以便细微地控制机身的姿势。起落架则要求把重约3t的东西收放自如。图4.20-1为波音747飞机的外形图。
图4.20-1波音747飞机的外形图
1-发动机2-副翼3-方向舵
4-升降舵5-襟翼6-阻流板
(1)结构和液压回路
整个液压系统由四个独立的系统构成,按发动机的序号依次称为No.1至No.4系统。以No.1系统为例见图4.20-2。为了防止泵的气蚀,始终向油箱中加压到约300kPa。在发动机驱动泵的上游有电动式供给切断阀,一旦发动机发生火灾时能切断液压油对发动机的供给。通常仅靠发动机驱动泵来工作,但在收、放起落架等负载较大时或者发动机驱动泵发生故障时,用压缩空气驱动泵自动工作。用配备的电动泵,为在地面牵引时提供制动用的压力油。各壳体液压泵的泄油经过滤后由装在主翼燃油箱中的冷却器冷却后返回液压油箱。系统压力超过24MPa时,液压油经溢流阀进入回油管。
图4.20-2披音747的No.1液压系统图
1- 油箱2-供给切断阀3-发动机驱动泵4一压缩空气驱动泵5-电动泵6-冷却器7一过滤器8-壳体泄油管9一溢流阀10-压力管11-回油管
(2)飞机的动翼液压控制系统
1)动翼的作用 飞机在飞行时的上升、下降、转弯、起飞、降落的每个过程都要求飞行员靠准确、稳定的操纵飞机的副翼、方向舵、升降舵、襟翼及阻流板的偏转角度来完成的,见图4.20-1.,
由于动翼的偏转使飞机飞行过程中空气阻力发生变化,产生了控制力和控制力矩,从而起到了操纵飞机的作用。而副翼或舵面能够偏转是因为使用了一套助力装置(如液压助力器)或自动装置(如电液舵机)。
2)液压助力器 所谓液压助力器就是飞行员借助于操纵杆通过液压机构来操纵舵面的液压装置。
如在波音747飞机上,为提高系统的可靠性,采用了冗余技术。以装在垂直尾翼上的方向舵为例,首先把方向舵分成上方向舵和下方向舵两部分,见图4.20-3,即使一个方向舵出现故障,单靠另一个也能保证其功能。其次,每个方向舵都装有双串联缸见图4.20-4,分别由两个液压系统来驱动。即使在最坏的情况下,有三个系统都出现故障时,剩下的一个系统仍能工作。
图4.20-3方向舵系统示意图i-No.2系统2-No.4系统3-No.l系统4-No.3系统5-上方向舵6-下方向舵7-双串联缸
图4.20-4双串联缸示意图
液压缸2-动翼3-操纵杆P-压力油T-回油
3)电液复合舵机 所谓电液舵机翼就是根据电信号自动操纵舵面的液压装置。将液压助力器二者复合在一起即称为电液复合舵机。
典型电液复合舵机系统原理如幽4.20-5所示,它的输入来自手动操纵装置和来自自动操纵装置的电信号。自动操纵装置是由电液伺服阀、伺服放大器、伺服液压缸、位移传感器所组成的位置伺服闭环回路,使自动操纵装置的位移(即伺服液压缸位移)与输入电信号成比例。舵机的输出是负载液压缸活塞杆的位移,此位移通过连杆机构带动舵面偏转,来自手动操纵装置或自动操纵装置的输入信号经连杆带动串联控制阀运动,串联阀的左右位移即控制了液压油进入串联液压缸的方向和流量,于是活塞杆带动舵面动作,其运动又通过反馈杆反馈到串联阀,当串联阀恢复原始位置时油路切断,使串联液压缸停止运动。两套液压系统的液压源分别由不同的发动机驱动,所以即使一个系统出现故障另一个系统也不会受到影响,只是功率减半,动作速度稍慢一些。在实际操纵时可分为三种状态:①驾驶员的手操纵状态即助力操纵状态,此时摇臂以A点为支点转动,B点带动连杆一起移动,从而使串联阀运动;②自动操纵状态,此时摇臂以O为支点转动,B点同样带动连杆一起移动(区别仅是传动比不同),从而也使串联阀运动;③复合操纵状态,此时摇臂上A点和0点均在运动,从而使B点为复合运动。
图4.20-5舵机系统原理示意围
1一伺服放大器2一电液伺服阀3-伺服液压缸4—摇臂5-串联控制阀6-串联液压缸7-反馈杆8一位移传感器9-连杆

图4 20—6舵机系统方框图
将上述电液复合舵机系统原理图画成结构方框图见图4.20-6,伺服放大器的作用是使位移传感器电压与给定电压比较并放大,使之能驱动电液伺服阀上的力矩马达,它的输入量与输出量分别为电压ΔU与电流I。电液伺服阀与伺服液压缸是一组电-液压机械量之间的转换机构,输入量与输出量分别为电流I与位移x。助力器是由滑阀、负载液压缸及反馈摇臂组成,输入量与输出量分别是滑阀的位移与负载液压缸的位移。舵机系统中舵面、操纵杆等连接一般采用杠杆等组件,其输入与输出是杆的位移与转角。
4)液压源回路 图4.20-7是其中一套飞机的动翼液压源回路示意图,每套独立的液压源的供油压力一般为21MPa。在液压源中采用了带压力补偿的恒压变量泵1,这种变量泵可自动调节泵的排量,使输出压力保持恒定,即使负载流量变动很大也能自动地保持大致恒定的压力,而且可以减小泵的驱动功率,两套液压源除供给舵机串联控制阀外,还可用其中任意一套同时供给电液伺服阀。必须着重指出,在控制精度很高的舵机电液伺服系统中,为了始终保持良好的工作性能,必须控制油液的污染,因油液污染会使伺服阀阀芯卡死,造成伺服装置失效,而且即使尚未卡死,也会使伺服装置性能下降, 般规定用于舵机的液压油清洁度需控制在NAS6级以内,为此管路过滤器2采用5μrn的精细过滤器,为防止精细过滤器堵塞,在前面再串联一个20μm的过滤器3。为了节省功率,防止油温上升过高,一般把变量泵调定成能满足平均流量,而用蓄能器储存的压力油来满足瞬时大流量需要。作为地面试验装置中的液压源为使油温控制在一定范围内,还需在回路中设置冷却装置4和加热装置5在液压源回路中溢流阀6处于常闭位置,作安全阀用。油箱中的磁分离器7通过电磁方式把液压油中的铁粉清除掉。
图4.20-7液压源回路图
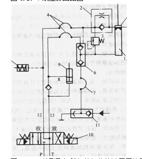
图4.20-8某型飞机前起落架收放液压系统原理图
(3)起落架收放、刹车液压系统
起落架收放、刹车系统包括前起落架、主起落架、左右机轮护板以及收起落架后自动刹车等,均用液压系统控制,前起落架及主起落架(包括左右两路)的三套液压系统基本相同。图4.20-8为某型飞机前起落架收放液压系统原理图。
三位四通电液换向阀10,处于中间位置时,两个电磁铁都未通电,收油路12、放油路13均与回油路T相通。当换向阀10处于右位时,放下油路13接通高压油源,因单向阀8闭锁,高压油首先进入开锁液压缸9,然后接通液压锁6,高压油进入起落架收放液压缸1的放下腔1.1,其上腔1.2与回油路相通,将起落架放下。在液压缸上腔1.2出口油路上安装有一单向节流阀2,用来减小起落架放下时的速度,缓和冲击力,放下结束后,液压锁6将收放液压缸放下腔油液闭锁,以备起落架收放液压缸钢珠损坏时,仍能将起落架保持在放下位置。与液压锁并联的高压溢流阀3是当收放液压缸放下腔1.1压力超过某定值时,此阀打开,将放下腔1.1的超压油液排到回油路,防止损坏机件。
收起落架的过程是,当三位四通电液换向阀切换至左位,高压油液经单向节流阀2接通液压缸上腔1.2,其工作过程与放下起落架的过程相类似。自动刹车液压缸5的功用是在收起落架时,能自动刹住高速旋转着的机轮,以免飞机产生振动。
残油分离阀11右侧接应急油路,在应急时接通液压缸下腔1.1直接放下起落架。
(4)前轮转弯液压系统
前轮转弯系统是用联动二位四通电磁阀控制的位置系统。图4.20-9是某型飞机前轮转弯液压控制系统原理图。
图4.20-9某型飞机前轮转弯液压控制系统原理图
前轮转弯系统由主液压源系统供压,操纵方法有手操纵和脚蹬操纵两种。在较小速度滑行和大角度转弯时用手操纵,其前轮左右偏角各为45°±2°,在起飞和着陆时,用脚蹬舵操纵前轮保持滑跑方向,其前轮偏转角左右各为10°±1°。
以手操纵前轮转弯为例。当联动电磁阀1如图示位置时,压力油进入手操纵三位四通转阀3,转阀3处于中位Ⅱ时,进油路和回油路均不通,但液控三位四通阀4已被压力油换向到左位置。当转动手轮,使转阀3转至I位置时,转弯液压缸5左腔通压力油,右腔通回油,转弯液压缸右移,当转动手轮,使转阀3处于Ⅲ位置时,使转弯液压液压缸右腔通压力油,左腔通回油,转弯液压液压缸左移,带动前轮反方向转动。
用脚蹬操纵前轮转弯时,其工作原理与上述过程相同。
本文标题:
带你了解飞机上的液压系统
分类:
液压行业知识
标签:
液压系统