宁波泰勒姆斯液压马达有限公司是宁波的一家比较有实力的液压马达,摆动液压马达是宁波泰勒姆斯液压马达有限公司做的液压马达里面的一款主打的产品,这款产品具有很多的优点,是别的液压马达所不能替代的,这个摆动液压马达在性能方面,动力方面,共有方面,功率方面等等,是很多的型机械进行传动的理想选择。
(1)摆动液压马达
①块状叶片的摆动液压马达 图1所示为块状叶片的单叶片摆动马达结构。由壳体10、叶片7、输出轴6、止挡2等零件组成。止挡连接在壳体内表面上,将吸排油腔隔离开来,故止挡又称隔块。叶片7为块状。马达采用间隙密封,靠研配来达到运动部位的密封,但密封性差,只适用于低压。
.jpg)
图1 活塞来复式摆动液压马达的工作原理

图2块状叶片的单叶片摆动马达结构
1,5-油口I 2-止挡;3,8-弹簧片;4,9-滑块6-输出轴;7-叶片;10 -壳体
②压力补偿密封式摆动马达如图7-52所示,马达的叶片制成左、右两半,中间配置整体框形密封件1、O形密封圈2、定距片3和钢球9用销钉4定位,再用螺钉5将上述各件夹紧成一个整体的叶片。定距片使叶片左右两半之间保持预先设定的距离,当用螺钉夹紧时,整体框形密封件和O形密封圈就受预压而起一定的密封作用。定距片上还有三角沟槽。当压力油从装在叶片左右两半内的一个阀座8流出时,推开钢球通过三角沟槽充满0形密封圈内侧围成的空间,由于此时钢球封死了对面阀座的阀口,压力油就不能窜入低压腔,该空间内的压力油就使O形密封圈外胀变形压迫整体框形密封件,使它紧密地压向四周,即使磨损也能自动补偿,起到了良好的密封作用。压力油反向时,同样能使0形密封圈内侧围成的空间充满压力油,实现自动补偿的密封作用。止挡也具有与叶片相同的米粉结构。此种马达最大工作压力可达25MPa,最大摆角为170。,输出转矩可达1100N·m;适用于高压液压系统中驱动负载。

图3压力补偿密封式单叶片摆动马达结构
1-框形密封件;2-0形密封圈;3-定距片;4-销钉;5-螺钉;6-垫圈;7,10 -转子体;8-阀座;9-钢球门;11-堵头;a-开在定距片上的三角沟槽
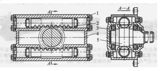
③双叶片型摆动马达如图7-53所示,此种马达的叶片和止挡的结构、密封形式都与单叶片式基本相似。但双叶片式的叶片和止挡都是成对配置的。压力油腔都与输出轴对称。因而径向液压力可互相抵消,使输出轴不受径向负荷。当两个摆魂液压缸结构尺寸相同时,双叶片式的输出转矩可比单叶片式增加一倍,但转角也相应减小。双叶片式摆动马达适合摆角要求小而转矩要求大并且结构尺寸受限的场合采用。
叶片式摆动马达实物外形见图5。

【图4双叶片型摆动液压马达结构】

【图5叶片式摆动马达实物外形】
(2)活塞式齿条齿轮型摆动液压马达
①单缸单作用式摆动马达图7-55所示为单缸单作用式摆动马达的结构。作活塞杆用的齿条5和齿轮6的啮合作为机械转换器。当输入压力油时,活塞4推动齿条作直线移动,经齿轮将直线移动转换为旋转运动,由齿轮轴输出转矩。活塞行程即输出转角大小的控制可通过螺钉1调节。这种摆动马达的优点是结构简单,位置精度便于控制,应用广泛。

图6单缸单作用式摆动液压马达结构
1-调节螺钉;2-端盖;3-卡环;4-活塞;5-齿条;6-齿轮
②单缸双作用式摆动马达如图7-56所示,在一个缸体2内相向布置有两个带齿条的活塞3,压力油作用于活塞上使之往复移动,通过齿轮4带动输出轴上的负载摆动。该马达输出转矩较大,但行程短、转角小。
③双缸双作用式摆动马达 如图7-57所示,在缸体4的上、下相向各布置有一个带齿条的活塞2,压力油作用于活塞上使之往复活动,通过齿轮5带动输出轴上的负载摆动。在相同条件下,双缸双作用式摆动马达的输出转矩要比单缸单作用式齿条齿轮式摆动马达增加一倍。目前此种产品的摆角可达360°,输出转矩可达十万牛·米以上

图7双缸双作用式摆动液压马达结构
1-端盖;2-带齿条的活塞;3-端盖;4-缸体;5-齿轮
④曲柄连杆型摆动液压马达如图7-58所示,马达由活塞3、曲柄7、连杆4和输出轴6等组成。工作时,由左、右油口1、2进入的压力油驱使活塞3往复运动,通过连杆4牵动曲柄7摆动。曲柄上装有平键的轴6即为输出转矩的轴。马达摆动角度的控制通过调节螺钉5实现。
(3)来复式摆动液压马达
①双向单来复式摆动液压马达 图7-59所示为双向单来复式摆动液压马达的结构。其
来复母活塞2仅作直线运动。结构上左右对称,通过同步杆3连接左右两主轴4实现同步。
这种马达主要用于驱动处于同一轴线上的两个负载作同步旋转。

图8曲柄连杆型双作用式摆动液压马达结构
1-左油口;2-右油口;3-活塞;4-连杆;5-调节螺钉;6-输出轴;7-曲柄

图9双向单来复式摆动液压马达结构
1-缸体;2-来复母活塞;3-同步杆;4-来复杆主轴;5-端盖; 6-滚动轴承;7-滑动轴承;8-来复螺旋副;9-直花键副

图10细长单来复式摆动液压马达结构
1-主轴;2-滚动轴承;3-壳体;4-尼龙支承;5-来复杆活塞; 6-法兰轴;7-来复螺旋副;8-直花键副
②细长单来复式摆动液压马达如图7-60所示,这是一种用于台车钻臂上翻转凿岩机滑道的单来复式摆动液压马达。其活塞5上的来复杆与主轴1上的来复螺旋副相配,主轴又与滑道相连,壳体3通过法兰轴6固定于钻臂上。当压力油从油口A进入壳体左腔时,活塞沿着直花键副8向右运动。由于钻臂不动,所以活塞直线运动时,通过来复螺旋副7就迫使主轴连同滑道一起旋转。反之,压力油由B油口进入时,滑道就反转。这种马达的优点是能带动细长工作机构旋转。
.jpg)
【图11活塞式齿条齿轮型摆动液压马达实物外形】
宁波泰勒姆斯液压马达有限公司,科技带来强劲动力,品质靠事实说话。
分类:液压行业知识
标签: 液压马达

